Работа машины:
Автомат предназначен для упаковки салфеток. На этой машине также можно упаковывать сыпучие и жидкие продукты в плоский четырехшовный пакет. Установка проста и надежна в эксплуатации, легко настраивается.

Технические характеристики:
Электрическая сеть: ( 380 В, 50 Гц ).
Потребляемая мощность: ( 3,5 кВт ).
Сжат. воздух: ( 6 атм ).
Расход воздуха: ( 300 л/мин ).
Ширина пакета: min (60 мм), max (200 мм).
Высота пакета: min (50 мм), max (200 мм)
Габаритные размеры:
( ш 3000 мм ), ( д 1500 мм ), ( в 1400 мм )
.
Вес: ( 500 кг ).
Производительность: ( до 35 уп./мин ).


Комплектация:
Редукторы «MOTOVARIO» (Италия)
Электроника «SIEMENS» (Германия)
Пневматика «FESTO» (Австрия)





Работа машины:
Автомат предназначен для производства лейкопластыря. На этой машине возможно упаковывать все виды лейкопластыря, различные повязки, салфетки. Установка надежна в работе и проста в обслуживании.

Технические характеристики:
Электрическая сеть: ( 220 В, 50 Гц ).
Потребляемая мощность: ( 3,5 кВт ).
Ширина пакета: min (40 мм), max (120 мм).
Длина пакета: min (20 мм), max (100 мм)
Габаритные размеры: ( ш 2800 мм ), ( д 800 мм ), ( в 1600 мм ).
Вес: ( 700 кг ).
Производительность: ( до 160 уп./мин ).

Комплектация:
Редукторы «MOTOVARIO» (Италия)
Электроника «SIEMENS» (Германия)
Пневматика «FESTO» (Австрия)





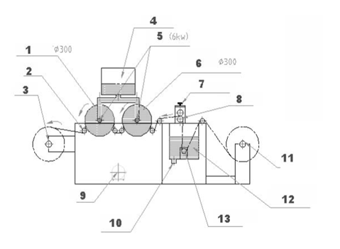
Работа машины:
Аппарат расчитан для пропитки и сушки тканных и нетканных материалов различными растворами.

Описание:
1. Барабан с подогреваемым маслом
2. Направляющий вал
3. Устройство для смотки
4. Резервуар с подогреваемым маслом
5. Нагревающие тэны
6. Барабан с подогреваемым маслом
7. Винт для регулирования силы сжатия
8. Кремниевый резиновый ролик
9. Двигатель
10. Клапан для контроля подачи жидкости
11. Устройство размотки
12. Нержавеющий резервуар для жидкости

Технические характеристики:
Ширина исходной нетканой ленты - ( 0-200мм )
Диаметр рулона размотки и смотки - ( 350мм )
Скорость смотки - ( 1м/мин )
Потребляемая мощность - ( 6кВт )
Ширина нагревающего барабана - ( 200мм )
Габариты, - ( 3000х600х1500 мм )
Вес нетто - ( 300кг )

Работа машины:
Размотка марли шириной ( 140 мм ) из двух рулонов.
Отрезка фрагмента длиной ( 160 мм ).
Сложение его в 2 раза в длину и в 4 раза ( краями внутрь ).
Формирование стопки из 10 или 20 салфеток.
Автоматическая выдача стопки в приемное устройство.




Технические характеристики:
Размеры в развернутом состоянии ( 160 х 140 см ), в свернутом состоянии ( 40 х 70 мм )
Диаметры рулонов исходного сырья: максимум 500 мм.
Машина работает на сжатом воздухе, её производительность 4 стопки по 10-ть шт в минуту.
Станок выдает стопки уложенных салфеток по 10 или по 20 штук.
Габариты станка: ( д 800 мм ), ( в 1200 мм ), ( ш 500 мм )





Работа машины:
Размотка марли шириной ( 450 мм ) из двух рулонов.
Отрезка фрагмента длиной ( 290 мм ).
Сложение его в 2 раза в длину , 3 раза ( краями внутрь ), по ширине 4 раза в длину.
Формирование стопки из 5 салфеток.
Автоматическая выдача стопки в приемное устройство.




Технические характеристики:
Размеры в развернутом состоянии ( 450 х 290 см ), в свернутом состоянии ( 110 х 50 мм ).
Машина работает на сжатом воздухе, её производительность 4 стопок в минуту.
Станок выдает стопку по 5-ть сложенных салфеток.
Габариты станка: длина ( 2500 мм ), высота ( 1400мм ), ширина ( 700мм )

Все комплектующие европейских производителей.




Работа машины:
Станок марки КС-20 предназначен для резки рулонов марли От ( 50 мм ) до ( 450 мм ) диаметром до ( 500 мм )
Режущим элементом является закольцованное ножевое полотно, натянутое на шкивах.

Описание процесса работы:
Рулон ставится на подвижный стол, отмеряется требуемая длинна , рулон фиксируется зажимным устройством.
Далее необходимо включить ножевое полотно и в ручную двигать подвижный стол до упора.

Технические характеристики:
Производительность - один рез за 2 мин
Исходное сырьё - марля медицинская
Размеры рулонов - ширина ( 900 мм ) диаметр до ( 500 мм ).

Номинальные параметры электрического тока:
Род тока: переменный
Тип: трехфазный
Напряжение: ( 380 Вольт )
Частота: ( 50 Гц )
Установленная мощность: ( 1,5 кВт )
Расход воздуха л/мин: ( 5л,мин )
Давление воздуха в пневмосистеме МПа: ( 0,6 )
Габаритные размеры: длина ( 1500 мм ), высота ( 2200 мм ), ширина ( 1500 мм ).
Масса машины: ( 600 кг ).






Работа машины:
Станок марки КС-20 Во время размотки происходит складывание полотна в 4-е раза, намотка
заданной длины на вилку, автоматический отрез и снятие отреза с вилки.




Технические характеристики:
Размер отреза в упаковке: на ( 15см ).
Габариты станка: длина ( 1,5 м ) ширина ( 1,5 м ) высота ( 2,2 м ).
Производительность: ( 1м. в сек ).







Подробности уточняйте у менеджеров по телефону.




Работа машины:
Линия для производства салфеток марлевых двухслойных с бандажированием.
Размеры в развернутом состоянии:(160 х 140 мм)
в свернутом состоянии (40 х 70 мм).



Технические характеристики:
Диаметры рулонов исходного сырья: max (500 мм).
Производительность машины:
( 12 стопки ) по ( 10-ть шт в минуту ).
Станок выдает стопки завернутых салфеток по: ( 10 шт ).
Габариты станка: (д 3500 мм), (в 1200мм), (ш 800 мм).







Работа машины:
В процессе работы машины, материал лекарством оборачивается бумагой, нарезается на нужный размер , и упаковывается в четырех шовный пакет формируемый из рулонов упаковочного материала. Лицевая сторона пакета контролируется фото меткой. Исходными материалами: рулон материала с лекарством , рулон полиэтилена или полипропилена и два рулона внешней упаковки. .


Технические характеристики:
Материал упаковки: ( ОМПП мет 30 мим ).
Диаметры рулонов исходного сырья и упаковочных материалов: максимум ( 450 мм ).
Привод: Электропневматический
Производительность: ( 30-50 циклов/мин ).
Размеры салфетки: длина : ( мin 30 мм ); ( мах 120 мм ). Шир.: ( min 30 ); ( max 120 ).
Размер упаковки : длина : ( мin 60 мм ); ( мах 150 мм ). Шир.: ( min 60 ); ( max 150 ).
Технологические перерывы для установки сырья: ( не более 15 мин. )